服务热线:
4006-598-119
您的位置: 首页>>新疆技术文章

新疆火焰探测器维护清洗工具

发布日期:2024-10-22 10:08:57   浏览量:3923

 火气系统的火焰探头为了实现对火区检测覆盖,通常安装在较高位置,探头检测窗受使用环境影响,特别是在有打磨作业的情况下,扬起的铁屑、油漆屑,经常造成检测窗脏污报警,需要及时清洁,否则探头不能正常工作。若清洁检测窗,必须搭建脚手架,此工作危险性高、时间长,给检修维护工作带来极大不便。如何提升火焰探头的清洁效果,在这里分享两个实用小工具。


概述


  火焰新疆探测器又称感光式火灾新疆探测器,它是用于响应火灾的光特性,即探测火焰燃烧的光照强度和火焰的闪烁频率的一种火灾新疆探测器。基于火焰的光特性的火焰新疆探测器有三种:一种是对火焰中波长较短的紫外光辐射敏感的紫外新疆探测器;另一种是对火焰中波长较长的红外光辐射敏感的红外新疆探测器;第三种是同时探测火焰中波长较短的紫外线和波长较长的红外线的紫外/红外混合新疆探测器。此种新疆探测器广泛应用于石油化工行业,在火灾警报系统中起着重要作用。

   由于火焰新疆探测器通过接受光信号来对现场进行监测,所以其探头在火焰新疆探测器工作期间必须保持洁净状态。对火焰新疆探测器进行清洁维护是保证火焰新疆探测器正常工作的重要内容。传统的清洁方式为作业人员使用抹布与清洁液对镜面进行清洗。

针对上述普遍的火焰新疆探测器清洁作业的作业步骤,主要存在以下几点缺陷:

1) 火焰新疆探测器由于其工作原理,需安装在被监测区域的较高位置,普遍维护作业需要使用梯子或者操作台爬到高出,给作业人员带来一定摔倒风险。

2) 使用抹布与清洁液不能对火焰新疆探测器镜片死角处进行有效的清洁,存在清洁盲区。

  为实现有效的火灾探测,被监测现场普遍配备了大量的火焰新疆探测器,使用人力登高的方式进行维护将给维护工作带来较大工作量。


自制火焰探头维护工具


  针对存在问题,仪表部门利用平台材料,自制了火焰探头清洗保养工具,通过工具带有的冲洗和吹干功能,很好的解决了火焰探头日常保养或者因为探头污染带来的故障处理问题,提高了维护效率的同时,也提高了工作安全舒适度。

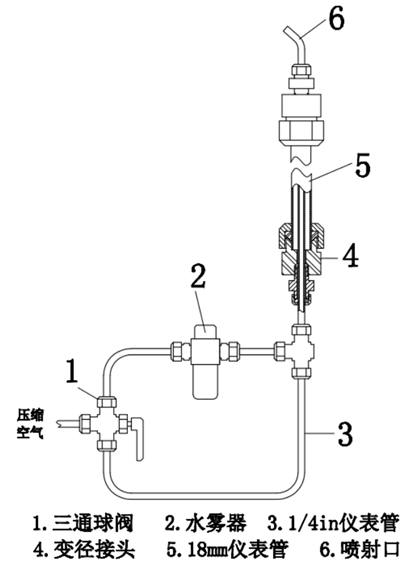
 通过仪表部门讨论完善,设计了如下图的结构。设有纯压缩气吹扫功能和气液混合吹洗功能,采用一个三通球阀来选择功能模式。



图片

  因为需要清洁一些高处的探头,如果直接使用细管,容易发生弯折,变形,举到高处时也容易发生形变,所以使用了18mm仪表管线作为支撑管,但是清洗探头镜片又需要精细的水流和准确的冲洗方向把控,故在内部使用1/4仪表管线作为吹洗的管线。

图片


图片

      维护时,用软管连接气源到三通阀,再通过三通阀可以切换清洗和吹扫两个模式。首先进行清洗模式。阀门往上,滤器中装满水,气体经过时将水也带入后段仪表管。最终1/4仪表管头喷出来的水气能够清洗探头表面灰尘和一些污物。

  再将阀门转换到吹扫功能,隔绝了水的进入,后段仪表管单纯输出带有安全压力的气体,不仅能吹走周围的灰尘,还将之前清洗的水渍吹扫干净,防止了水渍自然风干后,形成的水印影响探头功能,甚至可能导致探头误触发。两种模式相互切换配合,能够很好的对探头进行清洗,提升火焰探头PM质量,减低故障率,并提高工作效率、减少登高作业带来的风险。



在线咨询 联系方式 二维码

服务热线

4006-598-119

扫一扫,关注我们